爱思助手如何查询苹果设备?验机报告全方位解析

2025年09月22日

爱思助手验机报告可一键查询苹果设备激活、保修及硬件更换信息。只需将设备连接电脑,打开爱思助手,点击“查看验机报告”即可获取详细数据,轻松辨别设备状态。

爱思助手如何查询苹果设备?验机报告全方位解析

文章目录

爱思助手如何查询苹果设备?验机报告全方位解析

爱思助手验机功能是什么?

爱思助手是一款功能强大的苹果设备管理软件,其“验机报告”是备受用户青睐的核心功能之一。对于许多购买了二手 iPhone 或想确认自己设备状况的用户来说,验机功能提供了一个快速、直观的方式来核对设备的“身份”。它通过读取设备底层硬件信息,并与苹果官方出厂数据进行比对,从而判断设备的关键部件是否被更换或维修过。

爱思助手如何查询苹果设备?验机报告全方位解析

这项功能不仅仅是查询序列号那么简单。它可以详细展示设备的型号、内存、颜色、销售地、激活状态、保修期限等基本信息。更重要的是,它能检测到如屏幕、主板、前后摄像头、指纹或面容 ID模块、电池等核心硬件的出厂序列号是否与当前设备内的硬件匹配。这使得普通用户也能像专业人士一样,对设备的“前世今生”有一个清晰的了解。作为一款来自官网 i4.cn 的综合性工具,爱思助手致力于为广大苹果用户提供透明、便捷的设备管理与信息查询体验。

如何使用爱思助手查询苹果设备信息?

通过几个简单的步骤,您就可以轻松获取一份关于您 iPhone 或 iPad 的全面体检报告。整个过程无需专业知识,非常适合普通用户操作。

第一步:获取并安装爱思助手

首先,您需要在您的 Windows 电脑或 Mac 上安装爱思助手。请访问爱思助手官方网站 i4.cn,根据您的操作系统下载最新版本的客户端。下载完成后,双击安装程序,按照屏幕上的提示完成安装。安装过程非常直接,通常只需几分钟即可完成。

第二步:连接您的苹果设备

打开已安装的爱思助手软件。使用一条质量可靠的 USB 数据线将您的 iPhone 或 iPad 连接到电脑。首次连接时,您的苹果设备屏幕上会弹出“要信任此电脑吗?”的提示,请点击“信任”,并根据提示输入您的设备锁屏密码。这是为了授权电脑访问您设备中的数据。爱思助手会自动识别您的设备并安装必要的驱动程序以确保稳定连接。

第三步:生成并查看验机报告

设备成功连接后,爱思助手主界面会显示您的设备摘要信息。在设备信息的右侧,您会看到一个明显的按钮——“查看验机报告”。点击此按钮,爱思助手将立即开始从云端和您的设备中拉取数据进行比对分析。这个过程通常在几秒到一分钟内完成。分析结束后,一份详细的验机报告就会呈现在您面前。

怎样专业解读爱思助手验机报告?

获取报告只是第一步,看懂报告中的各项数据才是关键。验机报告通过颜色和数值,直观地反映了设备的健康状况。

“全绿”代表什么?

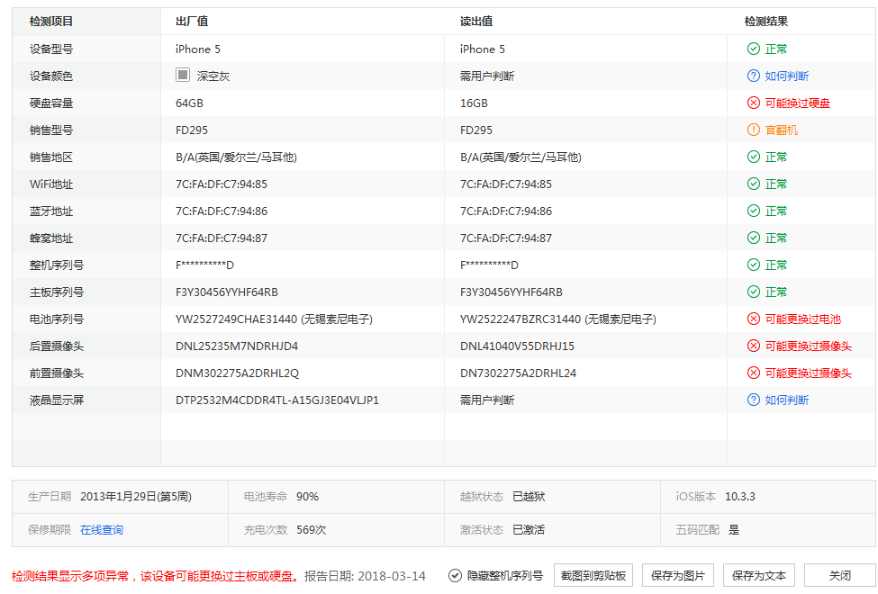
“全绿”是用户最希望看到的结果。当验机报告中的所有检测项都显示为绿色,并且“检测结果”评定为“正常”时,通常意味着这台设备的所有核心硬件都是原厂部件,且没有被更换或维修的记录。简单来说,“全绿”的设备在硬件层面上大概率是一台“原装机”。这对于购买二手设备的用户而言,是一个非常积极的信号。

核心数据项深度分析

验机报告包含丰富的信息,理解每一项的含义至关重要。报告通常会对比“出厂值”和“读取值”,前者是设备出厂时的原始硬件信息,后者是当前软件读取到的硬件信息。如果两者一致,则为正常。

检测项目 说明 关注要点
设备型号/颜色/容量 核对设备的基本信息是否与您购买时的一致。 警惕“扩容机”,即通过非官方手段更换内存芯片以增加存储容量。
销售型号/销售地区 显示设备的目标销售市场,如 CH/A 为国行,LL/A 为美版。 不同地区的版本在网络支持和保修政策上可能存在差异。
屏幕序列号 检测屏幕是否为原装。更换过的屏幕此处可能显示红色。 非原装屏幕在显示效果、触控灵敏度上可能与原装有差距。
主板序列号/硬盘序列号 主板是设备的核心,硬盘存储所有数据。 这些项目出现异常,可能意味着设备经历过严重维修。
摄像头/指纹/面容ID 检测生物识别模块和摄像头的原装性。 更换这些部件可能导致相关功能(如支付、解锁)无法使用或不稳定。
电池序列号 判断电池是否为原装电池。 更换第三方电池可能会影响续航和安全性,且无法在 iOS 系统中查看电池健康度。

出现红色或黄色项目意味着什么?

如果报告中出现红色项目,这是一个强烈的警示信号。红色通常表示该硬件的“读取值”与“出厂值”不匹配,意味着该部件很可能被更换过。例如,“后置摄像头”显示为红色,说明这台设备的后置摄像头不是原厂安装的那一个。这在二手交易中是判断设备是否被维修过的关键依据。

黄色项目则相对少见,通常表示无法获取到准确的出厂信息或读取值进行比对,或者该部件存在一些不影响主要功能的异常。遇到黄色项目时,建议结合其他信息综合判断,或者咨询更专业的人员。

爱思助手的查询结果是否可靠?

许多用户在依赖验机报告的同时,也会对其准确性产生疑问。了解其工作原理和局限性,可以帮助您更客观地利用这份报告。

验机报告的数据原理

爱思助手验机的基本原理是数据比对。每一台苹果设备出厂时,其各个核心硬件(如主板、屏幕、摄像头)都有一个独一无二的序列号,这些信息被记录在苹果的服务器上。爱思助手通过连接设备,一方面读取设备当前安装的硬件序列号(读取值),另一方面通过设备的SN码向服务器查询其原始的出厂硬件信息(出厂值)。通过比对这两组数据是否一致,来判断硬件是否被更换。

结果的准确性与参考价值

在绝大多数情况下,爱思助手的验机报告是高度准确且具有重要参考价值的。对于常见的维修行为,如更换屏幕、电池、摄像头等,它几乎都能精准识别。然而,没有任何第三方工具是百分之百完美的。一些技术高超的维修可能会使用特殊手段“刷写”硬件信息,使得更换后的部件序列号与原厂一致,从而“骗过”验机软件。这种情况虽然罕见,但理论上存在。

因此,应将爱思助手的验机报告作为一个强有力的辅助工具,而不是唯一的判断标准。在购买设备时,还应结合设备的外观成色、功能测试、价格以及卖家的信誉等因素进行综合评估。

除了验机,爱思助手还能查询哪些信息?

爱思助手的功能远不止验机报告。它还是一个强大的设备信息查询平台,能让您更深入地了解您的设备状态。

深入了解电池健康状况

在“设备信息”界面,您可以找到关于电池的详细数据。除了iOS系统自带的“最大容量”百分比,爱思助手还能显示电池的实际容量、设计容量、充电次数、以及电池生产商等信息。这些数据比系统自带的信息更全面,能帮助您更精准地判断电池的老化程度和是否需要更换。

查看设备实时动态信息

爱思助手还提供了“设备详情”功能,可以实时监控设备的各项参数。这包括CPU的负载情况、内存使用率、设备温度以及各个传感器的实时数据。对于希望了解设备运行状态的高阶用户来说,这些实时信息非常有用,可以帮助诊断卡顿、发热等问题的原因。

关于爱思助手查询的常见问题

以下是用户在使用爱思助手进行查询时经常遇到的一些疑问和解答。

使用爱思助手查询会影响设备保修吗?

完全不会。爱思助手的查询功能本质上只是读取设备信息,它不会对设备系统进行任何修改或“越狱”操作。这种读取行为与您在设备上查看“关于本机”信息类似,属于正常使用范畴,因此并不会影响苹果官方的保修政策。

为什么连接设备后需要安装驱动?

驱动程序是让电脑操作系统(如Windows)能够正确识别和通信外部硬件(如iPhone)的桥梁。爱思助手自动安装的驱动是苹果官方或经过认证的组件,用于建立电脑与iPhone之间的稳定数据通道。这是确保所有功能,包括信息查询、文件传输、备份等正常运行的必要步骤。

验机报告显示红色应该怎么办?

如果您的设备在验机报告中出现红色项目,首先不要惊慌。如果您购买的是二手设备,这说明设备很可能被维修过。您可以根据红色项目,重点测试相关功能是否正常(如测试更换过的摄像头拍照是否清晰,更换过的屏幕触控是否灵敏)。这个结果可以作为您与卖家协商价格或决定是否购买的重要依据。如果您购买的是全新设备却出现红色,应立即联系销售方或苹果官方客服进行核实。

最新文章
手机怎么检测爱思助手?全面验机流程与报告解读

使用电脑端爱思助手连接手机,在设备信息页面点击“查看验机报告”,即可获得硬件检测结果。报告用颜色区分,绿色代表正常,红色警示部件可能被更换或数据异常。

当下美育app怎么用爱思助手

使用爱思助手,您可一键搜索并为手机安装当下美育App,还能轻松备份应用数据、管理课程文件,保障学习进度与作品安全。

爱思助手为什么可以下付费app?揭秘其背后的原理与风险

爱思助手主要通过共享Apple ID实现付费App下载。平台购买应用后,通过技术手段让用户临时登录共享ID完成安装,从而免费获取。

爱思助手怎么单独备份App?详细步骤与数据备份指南

使用爱思助手可轻松单独备份App。将iPhone连接至电脑,打开爱思助手进入“应用游戏”,选择App后点击“备份”,再根据需求选择备份程序或连同文档一起备份即可。

爱思助手刷机后反复重启?别慌,四种方法帮你修复iPhone

爱思助手刷机后反复重启?这通常因固件错误或连接中断所致。请先尝试强制重启,或使用爱思助手在DFU模式下重新刷机,这能有效解决大多数此类问题,让您的设备恢复正常。

爱思助手游戏下架怎么办?超全解决方案与原因解析

游戏下架可能是版权或版本问题。您可以尝试使用爱思助手的IPA文件备份功能恢复,或寻找其他官方下载渠道,确保游戏数据的安全与延续。